? 可調節的跨阻增益從102至108V/A
? 帶寬高達200MHz
? InGaAs和Si型號,覆蓋320至1700nm的光譜范圍
? 高輸入動態范圍,線性響應至10mW的光輸入功率
? 大尺寸探測器,直徑可達3mm
? 極低噪聲,噪聲等效功率(NEP)低至47 fW/√Hz
? 可切換的低通濾波器,用于最小化寬帶噪聲
? 光纖和自由空間輸入
? 1.035″-40自由空間輸入螺紋,兼容多種光學標準系統
? 可通過手動或數字接口進行設置
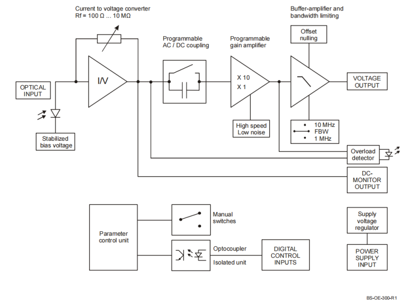
OE-300光電接收器是一款高性能的光電轉換設備,具備以下特點和功能:
? 高精度光電二極管與跨阻放大器的結合:OE-300由高品質的光電二極管和高端的可變增益跨阻放大器組成,提供低輸入噪聲(NEP),特別適合于MHz范圍內的寬帶光電接收。
? 大探測器面積:相對較大的探測器面積有助于光學聚焦,并確保在使用Si型號時,通過可選的PRA-FC/SMA光纖適配器實現高且穩定的耦合度。
? 寬增益范圍:增益可從102至108V/A(十進制增量)調節,允許在nw到10mw的功率范圍內對光學信號進行精確測量。
? 多功能性:具備可切換的低通濾波器、可調節的偏移校正、可切換的交流/直流耦合,以及通過光電隔離接口與PC手動或遠程控制的能力。
? 兼容性:Si型號配備了光學自由空間輸入,可以輕松擴展到光纖連接,具有1.035英寸-40螺紋的法蘭和30毫米外徑的耦合環,與多種光學配件兼容。
? 快速轉換:自由空間螺紋連接可以通過旋緊可選的PRA系列光纖適配器,迅速轉換為FC或FSMA光纖連接。
? InGaAs型號選擇:提供帶有FC光纖連接的InGaAs型號,適用于高精度光纖測量,或帶有自由空間連接的型號。
? 注意小面積探測器:對于面積小于0.4毫米直徑的探測器,使用光纖適配器可能存在耦合損耗和不穩定性,推薦使用固定光學FC光纖輸入的FC型號以獲得最佳測量結果。
? 安裝便利性:所有OE-300型號都可以使用可選的PRA-PAP型號后適配板,方便且穩定地安裝在市場標準的M4或8-32 UNC螺紋的后座上。
此外,OE-300還具備過載LED指示、輸出短路保護、通過3極Lemo?插座接受±15V供電等特點。合適的插頭隨設備提供,同時還有PS-15系列的合適電源可選。更多詳細信息可以參考產品的數據手冊。

OE-300光電接收器在以下方面有著廣泛的應用:
? 寬帶噪聲抑制的通用光電接收器(O/E轉換器):適用于MHz范圍內的光電信號轉換,具有低噪聲特性,適合在寬帶應用中使用。
? 時間分辨的光學脈沖和功率測量:OE-300能夠精確測量光學脈沖的時間特性和功率水平,適用于高速光學信號的分析。
? 激光強度噪聲測量(RIN):用于測量激光器的相對強度噪聲,這對于評估激光器性能和穩定性至關重要。
? 示波器、頻譜分析儀、模數轉換器和射頻鎖相放大器的光學前端:OE-300可作為這些測試和測量設備的光學輸入部分,提供高質量的光電信號轉換和處理能力。
